Hallo !
Bin neu im Forum, habe aber schon viele interessante Beiträge gelesen.
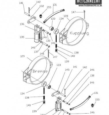
Hätte eine Frage zur Funktion der Bremse und Kupplung der verschiedenen Forstseilwinden. Wer kann mir erklären, wie eine solche fuktioniert, also wann die Bremse löst, wie diese aufgebaut sind, ob die Bremsen normalerweise reibschlüssig oder fomschlüssig funktionieren, klingt nicht logisch, habe dies aber gestern bei einer Farmiwinde mit 4t Zugkraft gesehen.
Besitze eien Winde, welche fix auf einem Raupenschlepper montiert ist und die formschlüssig angetrieben wird, also einkuppeln und innne drin greifen dann wie bei einer Differenzialsperre Klauen ineinander. Bremse funktioniert dort mit einem Bremsband.
Möchte die Winde auf Funkfernbedienung umbauen, von Holzleitner, wie im Forum schon beschrieben. Leider habe ich aber keine Ahnung ob das so funktioniert, weil ich ja händisch bremsen und kuppeln muss, mit zwei getrennten Hebeln und diese nicht über Fdern in irgendeiner Position gehalten werden.
Vielen Dank für jede Hilfe und jedes Bild, oder Skizze. Such jetzt schon die längste Zeit verschiedenste Internetseiten und Foren ab, sber leider nix gefunden.
Danke, Hubert aus Südtirol!
