240236 hat geschrieben:Da wird der Kolben von der Teilbreite nicht ganz zurückziehen. So wie Country geschrieben hat. Am besten grüne Gummiringe verwenden.
Welchen Kolben meinst Du?
Welche Gummiringe?
Aktuelle Zeit: So Nov 02, 2025 1:46
240236 hat geschrieben:Da wird der Kolben von der Teilbreite nicht ganz zurückziehen. So wie Country geschrieben hat. Am besten grüne Gummiringe verwenden.
Den Kolben den der Teilbreitenmotor bewegtHöffti hat geschrieben:240236 hat geschrieben:Da wird der Kolben von der Teilbreite nicht ganz zurückziehen. So wie Country geschrieben hat. Am besten grüne Gummiringe verwenden.
Welchen Kolben meinst Du?
Welche Gummiringe?
Nick hat geschrieben:Ist das diesselbe Armatur wie an der Rau mit den eckigen Magneten? Dann kannst ja mal mit den roten Handhebeln schalten und dann schauen ob es besser ist.
Mfg

Kreuzschiene hat geschrieben:Wenn es bei Raps in Richtung 7 Tonnen Ertrag geht, ist Lager meist nicht zu vermeiden. Ich spreche da leider aus Erfahrung.
Nick hat geschrieben:Ist das diesselbe Armatur wie an der Rau mit den eckigen Magneten? Dann kannst ja mal mit den roten Handhebeln schalten und dann schauen ob es besser ist.
Mfg
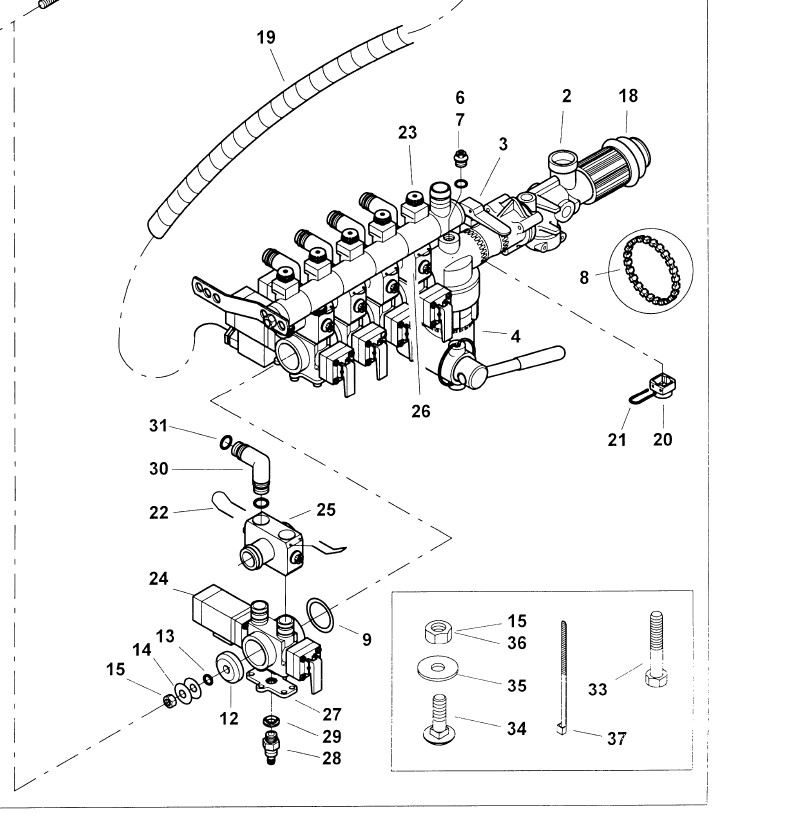
countryman hat geschrieben:Den genauen inneren Aufbau müsste man bei Amazone im Ersatzteilportal sehen. Offensichtlich schließt der Pfad in die Gleichdruck-Einstellung (oben drauf) nicht richtig sodass Brühe sowohl in die Teilbreite als auch in den Rücklauf strömen kann. Baut sich Druck auf wenn du die entsprechende Gleichdruck-Einstellung mit dem roten Rändelgriff ganz zudrehst?
Die Magnetventile gehen gerne etwas zäh im Alter weil Dichtungen aufquellen. Am besten komplett überholen?!
Nicht reinigen ist gefährlich. Es kleben die Ventile fest und der Motor drückt dann die Dichtung durch. Kann sein, daß die Stützscheiben auch kaputt sind.Höffti hat geschrieben:countryman hat geschrieben:Den genauen inneren Aufbau müsste man bei Amazone im Ersatzteilportal sehen. Offensichtlich schließt der Pfad in die Gleichdruck-Einstellung (oben drauf) nicht richtig sodass Brühe sowohl in die Teilbreite als auch in den Rücklauf strömen kann. Baut sich Druck auf wenn du die entsprechende Gleichdruck-Einstellung mit dem roten Rändelgriff ganz zudrehst?
Die Magnetventile gehen gerne etwas zäh im Alter weil Dichtungen aufquellen. Am besten komplett überholen?!
Also ich habe heute die Gleichdruck-"Schrauben" ganz reingedreht. Der Druck bei nicht geöffneten Teilbreiten ging deutlich hoch.
Beim Öffnen aber wieder sehr wenig Druck.
Hab mal im Tank nachgesehen.
Da kam sowohl bei dem linken Schlauch von der Gleichdruckarmatur als auch beim rechten Schlauch noch Wasser, auch bei geöffneten Teilbreiten.
Kommt mir so vor, als ob da quasi nicht komplett aufs Spritzgestänge "umgeleitet" wird.
Kann sich da irgendwo was zusetzen? Hab dieses Jahr die Spritze mal zwei Wochen ungereinigt stehen gehabt...
Oder könnte es doch die Pumpe sein?
240236 hat geschrieben:Nicht reinigen ist gefährlich. Es kleben die Ventile fest und der Motor drückt dann die Dichtung durch. Kann sein, daß die Stützscheiben auch kaputt sind.Höffti hat geschrieben:countryman hat geschrieben:Den genauen inneren Aufbau müsste man bei Amazone im Ersatzteilportal sehen. Offensichtlich schließt der Pfad in die Gleichdruck-Einstellung (oben drauf) nicht richtig sodass Brühe sowohl in die Teilbreite als auch in den Rücklauf strömen kann. Baut sich Druck auf wenn du die entsprechende Gleichdruck-Einstellung mit dem roten Rändelgriff ganz zudrehst?
Die Magnetventile gehen gerne etwas zäh im Alter weil Dichtungen aufquellen. Am besten komplett überholen?!
Also ich habe heute die Gleichdruck-"Schrauben" ganz reingedreht. Der Druck bei nicht geöffneten Teilbreiten ging deutlich hoch.
Beim Öffnen aber wieder sehr wenig Druck.
Hab mal im Tank nachgesehen.
Da kam sowohl bei dem linken Schlauch von der Gleichdruckarmatur als auch beim rechten Schlauch noch Wasser, auch bei geöffneten Teilbreiten.
Kommt mir so vor, als ob da quasi nicht komplett aufs Spritzgestänge "umgeleitet" wird.
Kann sich da irgendwo was zusetzen? Hab dieses Jahr die Spritze mal zwei Wochen ungereinigt stehen gehabt...
Oder könnte es doch die Pumpe sein?
Mitglieder: Bing [Bot], Google [Bot], Google Adsense [Bot]