Maschinenring Shop

  • Foren-Übersicht
  • Galerie
  • Chat
    Erweiterte Suche
  • Ändere Schriftgröße
  • Druckansicht
  • FAQ •
  • Datenschutzerklärung •
  • Nutzungsbedingungen • Registrieren • Login
Auto-Login

Aktuelle Zeit: Fr Jan 16, 2026 11:45

309er Kabine auf Farmer 3S umbauen

Hier findet man Hilfe in Sachen Landtechnik.
Antwort erstellen
950 Beiträge • Seite 54 von 64 • 1 ... 51, 52, 53, 54, 55, 56, 57 ... 64
  • Mit Zitat antworten

Re: 309er Kabine auf Farmer 3S umbauen

Beitragvon Epxylon » Di Nov 18, 2014 18:45

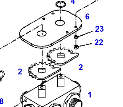
@Fendt Schrauber. Es gibt von Fendt solche Zahnräder. :wink:

Zahnräder Umschaltung.jpg
Zahnräder Umschaltung.jpg (38.37 KiB) 4969-mal betrachtet
Epxylon
 
Beiträge: 3380
Registriert: Fr Aug 26, 2011 16:50
Nach oben

  • Mit Zitat antworten

Re: 309er Kabine auf Farmer 3S umbauen

Beitragvon fendt schrauber » Di Nov 18, 2014 20:41

... wieder ein Stückchen weiter.
Der Kompressor ist wieder an seinem Platz und angeschlossen.
Auch der Winkelantrieb für das Traktormeter ist sauber und wieder eingebaut.

...wegen der Zahnräder, kaufen ist ja langweilig :D Werde das wahrscheinlich über eine Hebelmechanik lösen, allerdings ohne Nagel :wink:

Grüße aus Mittelfranken
Dateianhänge
DSC00883.JPG
DSC00883.JPG (107.25 KiB) 4863-mal betrachtet
DSC00881.JPG
DSC00881.JPG (89.66 KiB) 4863-mal betrachtet
Benutzeravatar
fendt schrauber
 
Beiträge: 3752
Registriert: Sa Apr 08, 2006 8:48
Wohnort: Mittelfranken
Nach oben

  • Mit Zitat antworten

Re: 309er Kabine auf Farmer 3S umbauen

Beitragvon Milchtrinker » Mi Nov 19, 2014 0:19

also sooo schlecht war das doch gar nicht !!!

Mach halt nochmals 2 Versuche, und dann Flutscht das auch !!!
Milchtrinker
 
Beiträge: 2811
Registriert: Fr Okt 03, 2008 15:38
Nach oben

  • Mit Zitat antworten

Re: 309er Kabine auf Farmer 3S umbauen

Beitragvon fendt schrauber » Do Nov 27, 2014 20:38

... die letzten Tage ging es wieder etwas am Fendt voran. Die Kühler/ Motorhaubenhalterung wurde angepasst um die Motorhabe die nötigen 12cm hoch setzen zu können. Außerdem wurde der Rahmen wieder gerichtet, anscheinend hat der Schlepper beim Vorbesitzer mal einen Treffer mitbekommen.

Der Traktormeter ist auch angeschlossen, keine schöne Arbeit die Welle durchs Armarurenbrett zu fädeln ...

Grüße aus Mittelfranken
Dateianhänge
DSC00887.JPG
DSC00887.JPG (148.37 KiB) 4238-mal betrachtet
Benutzeravatar
fendt schrauber
 
Beiträge: 3752
Registriert: Sa Apr 08, 2006 8:48
Wohnort: Mittelfranken
Nach oben

  • Mit Zitat antworten

Re: 309er Kabine auf Farmer 3S umbauen

Beitragvon Waldecker 90 » Fr Nov 28, 2014 17:37

IMG_20141128_173410.JPG
Farmer 2S


Hallo Fendt Schrauber,
hier hat das auch einer gemacht, sieht aber nicht so gut aus wie deiner :wink:
Gruß Waldecker
Gruß Waldecker ;)
Waldecker 90
 
Beiträge: 263
Registriert: Do Sep 26, 2013 8:31
Wohnort: Waldecker-Land
Nach oben

  • Mit Zitat antworten

Re: 309er Kabine auf Farmer 3S umbauen

Beitragvon fendt schrauber » Fr Nov 28, 2014 19:42

... habe heute mal einen Tag Urlaub eingelegt um endlich meine Dachplatten vom Schweinestall loszubekommen. Danach ging es wieder am Fendt weiter.... Der Dieselfilter ist lackiert und wieder an seinem Platz. Die vorderen Haubenhalter sind auch lackiert und wieder an ihrem Platz.

Für den Raum zwischen der Fronthydraulik und der Motorhaube habe ich mir auch was einfallen lassen, sieht ja sonst etwas komisch aus. In der Verkleidung werden auch gleich noch ein paar Hydraulikanschlüsse integriert.

Wenn jetzt nächste Woche die Gummilager für den Kühler kommen kann alles zusammengebaut werden....

@Waldecker

Bei dem 2S auf dem Bild wurde ja nur der Kabinenrahmen verwendet, frag mich aber wie das mit den Türen gemacht ist. Die sind ja da zu kurz...
Wobei der Umbau noch ganz gut ausschaut, hab da schon schlimmeres gesehen...

Grüße aus Mittelfranken
Dateianhänge
DSC00889.JPG
DSC00889.JPG (107.64 KiB) 3863-mal betrachtet
DSC00888.JPG
DSC00888.JPG (85.16 KiB) 3863-mal betrachtet
Benutzeravatar
fendt schrauber
 
Beiträge: 3752
Registriert: Sa Apr 08, 2006 8:48
Wohnort: Mittelfranken
Nach oben

  • Mit Zitat antworten

Re: 309er Kabine auf Farmer 3S umbauen

Beitragvon fendt schrauber » Do Dez 04, 2014 19:47

... nachdem ich die letzten Tage anderweitig beschäftigt war ging es heute wieder etwas weiter. Die Gummipuffer am Kühler sind getauscht, die Hupe ist auch drin und neu verkabelt.
Die Schläuche für den Luftfilter kamen auch neu und natürlich auch gleich etwas länger rein.

Dann kam die Frontmaske wieder an ihren Platz, solangsam kann man sich vorstellen wie dasmal aussehen wird....

Grüße aus Mittelfranken
Dateianhänge
DSC00896.JPG
DSC00896.JPG (134.92 KiB) 3399-mal betrachtet
DSC00895.JPG
DSC00895.JPG (135.11 KiB) 3399-mal betrachtet
DSC00894.JPG
DSC00894.JPG (131.9 KiB) 3399-mal betrachtet
Benutzeravatar
fendt schrauber
 
Beiträge: 3752
Registriert: Sa Apr 08, 2006 8:48
Wohnort: Mittelfranken
Nach oben

  • Mit Zitat antworten

Re: 309er Kabine auf Farmer 3S umbauen

Beitragvon fendt schrauber » So Dez 07, 2014 19:19

... Durch die Zwangspause am Haus ging es am Sa auch am Fendt etwas weiter.
Die Halterung für die Hubwerksumschaltung ist fertig und auch der Auspuffskrümmer ist angepasst. Heute dann noch die fehlenden Hydraulikteile zusammengeschrieben, damit das ganze bald mal fertig wird...

Grüße aus Mittelfranken
Dateianhänge
20141207_160753.jpg
20141207_160753.jpg (94.85 KiB) 2980-mal betrachtet
20141207_155936.jpg
20141207_155936.jpg (60.94 KiB) 2980-mal betrachtet
Benutzeravatar
fendt schrauber
 
Beiträge: 3752
Registriert: Sa Apr 08, 2006 8:48
Wohnort: Mittelfranken
Nach oben

  • Mit Zitat antworten

Re: 309er Kabine auf Farmer 3S umbauen

Beitragvon kawabiker1971 » Mo Dez 08, 2014 19:02

Läuft der modifizierte Krümmer nicht etwas zu dicht am Ansaugrohr/-krümmer vorbei?

Ich meine, nicht dass es hier thermische Probleme gibt....

Oder täuscht das Bild?
Benutzeravatar
kawabiker1971
 
Beiträge: 561
Registriert: Mo Jun 07, 2010 20:06
Nach oben

  • Mit Zitat antworten

Re: 309er Kabine auf Farmer 3S umbauen

Beitragvon Epxylon » Mo Dez 08, 2014 19:25

Im Original ist es auch nicht anders.
Epxylon
 
Beiträge: 3380
Registriert: Fr Aug 26, 2011 16:50
Nach oben

  • Mit Zitat antworten

Re: 309er Kabine auf Farmer 3S umbauen

Beitragvon fendt schrauber » Do Dez 11, 2014 20:19

... Anfang der Woche kam schon mal ein vorzeitiges Weihnachtsgeschenk, die letzten Teile für meinen 3S.
Heute ging es dann gleich mit den Einbau los. Die hälfte der Schläuche ist schon an ihrem Platz. Auch ein Teil der Druckluftanlage ist angeschlossen.

Grüße aus Mittelfranken
Dateianhänge
DSC00901.JPG
DSC00901.JPG (96 KiB) 2098-mal betrachtet
DSC00902.JPG
DSC00902.JPG (145.04 KiB) 2098-mal betrachtet
DSC00903.JPG
DSC00903.JPG (155.1 KiB) 2098-mal betrachtet
Benutzeravatar
fendt schrauber
 
Beiträge: 3752
Registriert: Sa Apr 08, 2006 8:48
Wohnort: Mittelfranken
Nach oben

  • Mit Zitat antworten

Re: 309er Kabine auf Farmer 3S umbauen

Beitragvon KarlGustav » Fr Dez 12, 2014 10:24

Macht immer noch richtig Spass sich Deine Bilder anzuschauen.

Frohes Weihnachtsbasteln.
Karl
KarlGustav
 
Beiträge: 3355
Registriert: So Jan 30, 2005 13:03
Nach oben

  • Mit Zitat antworten

Re: 309er Kabine auf Farmer 3S umbauen

Beitragvon lagavulin » Fr Dez 12, 2014 10:50

Waldecker 90 hat geschrieben:
IMG_20141128_173410.JPG


Hallo Fendt Schrauber,
hier hat das auch einer gemacht, sieht aber nicht so gut aus wie deiner :wink:
Gruß Waldecker
Das ist ja ein ganz seltenes Schätzchen, ein 2S mit Allradantrieb hatte ich noch nie gesehen.
Mein Bruder hat vom Dad den 2S BJ 1972 (eckige Haube wie der abgebildete) übernommen – ohne Allrad.
Benutzeravatar
lagavulin
 
Beiträge: 2778
Registriert: Fr Jun 17, 2005 19:40
Wohnort: Bayern
Nach oben

  • Mit Zitat antworten

Re: 309er Kabine auf Farmer 3S umbauen

Beitragvon fendt schrauber » So Dez 14, 2014 17:38

Gestern und heute ging es wieder etwas am Fendt weiter. Nun sind wieder ein paar Leitungen an ihrem Platz.
Auch der linke Aufstieg ist an seinem Platz, jetzt brauch ich zumindest keine Leiter mehr um in die Kabine zu kommen.

Heute kam dann noch die rechte Seitenverkleidung rein, jetzt schaut dasganze so langsam nach was aus...

Grüße aus Mittelfranken
Dateianhänge
DSC00905.JPG
DSC00905.JPG (80.1 KiB) 1350-mal betrachtet
DSC00904.JPG
DSC00904.JPG (97.71 KiB) 1350-mal betrachtet
Benutzeravatar
fendt schrauber
 
Beiträge: 3752
Registriert: Sa Apr 08, 2006 8:48
Wohnort: Mittelfranken
Nach oben

  • Mit Zitat antworten

Re: 309er Kabine auf Farmer 3S umbauen

Beitragvon Taubenweider » So Dez 14, 2014 21:09

bekommt der "3s" jezt eigentlich noch breitere Reifen? :D

Mfg
Vario Power
Benutzeravatar
Taubenweider
 
Beiträge: 345
Registriert: Fr Nov 02, 2012 13:00
Nach oben

VorherigeNächste

Antwort erstellen
950 Beiträge • Seite 54 von 64 • 1 ... 51, 52, 53, 54, 55, 56, 57 ... 64

Zurück zu Landtechnikforum

Wer ist online?

Mitglieder: bauer hans, Bing [Bot], Fahrer412, Google [Bot], Google Adsense [Bot]

  • Foren-Übersicht
  • Das Team • Impressum • Alle Cookies des Boards löschen • Alle Zeiten sind UTC + 1 Stunde
Powered by phpBB® Forum Software © phpBB Forum Group • Deutsche Übersetzung durch phpBB.de
phpBB SEO Design created by stylerbb.net & kodeki